mein_gartenshop24_de Logo
Unsere Seite verwendet Cookies und ähnliche Technologien, um die Benutzererfahrung auf unserer Website zu verbessern, Inhalte und Anzeigen zu personalisieren und die Nutzung unserer Website zu analysieren. Mit Ihrer Einwilligung stimmen Sie der Verwendung von Cookies sowie der Verarbeitung Ihrer persönlichen Daten zu, um Ihnen ein bestmögliches Surferlebnis und mehr Funktionen zu bieten.

Sie können Ihre Einwilligung jederzeit in den Cookie-Einstellungen anpassen oder widerrufen.
Experten-Beratung Lassen Sie sich von unseren Experten über das Kontaktformular beraten.
Artikelnummer: 4368724
Hier können Sie unsere qualifizierten Fachberater zur Planung Ihrer Bestellung kontaktieren.
Zum Kontaktformular
Hier erhalten Sie allgemeine Informationen zum Bestellprozess, der Lieferung, der Zahlung und mehr.
Zum FAQ
Hier können Sie Feedback zu dieser Seite abgeben oder unerwartete Inhalte und Auffälligkeiten melden.

Husqvarna Motorsensen/Freischneider 965102101 343FR

authorized.by
authorized.by
authorized.by Markenbild
TÜV Saarland ShopIdent
Zuletzt autorisiert: 14.03.2026

Mein Gartenshop24 garantiert ausdrücklich die Originalität dieses Produktes.

Mein Gartenshop24 ist durch diese Marke speziell für den Onlinevertrieb dieses Produktes autorisiert und ist vertrauenswürdiger Partner der Marke

Die Unternehmensangaben zur Identität des Shopanbieters Mein Gartenshop24  wurden im Rahmen des TÜV Saarland ShopIdent Verfahrens zuletzt am 08.02.2022 überprüft.

Husqvarna Motorsensen/Freischneider 965102101 343FR

Aktueller Preis 99.999,99 €
5€ Rabatt bei Newsletter-Anmeldung -
- 5,00 €
2% Rabatt bei Vorkasse als Zahlungsart
- 1.999,90 €
Sie sparen 2.004,90 €
Neuer Preis 97.995,09 €
Nicht lieferbar
Dieser Artikel ist leider nicht mehr zu bestellen. Wir empfehlen Ihnen eine alternative Artikelwahl aus dieser Kategorie. Wir wünschen Ihnen viel Spaß beim Stöbern.
Andere Produkte der Kategorie Gartengeräte
Artikel-Nr.: 4368724
  • Deutschlands bester Händler
  • Trusted Shops Käuferschutz
  • Rechnungskauf
  • Montageservice

Husqvarna Logo

Husqvarna

Der schwedische Hersteller Husqvarna bietet Ihnen Motorgeräte für die Forst-, Garten- sowie Landschaftspflege. Bereits 1689 begann die Unternehmensgeschichte, damals noch mit der Herstellung von Musketen. Somit profitiert das Unternehmen von mehr als 325 Jahre langer Erfahrung – und somit auch seine Kunden.

Die Zufriedenheit der Kunden ist dem international bekannten Unternehmen besonders wichtig. Daher arbeitet Husqvarna eng mit dem Anwender zusammen, auch nach dem Kauf steht das Unternehmen seinen Käufern mit Rat und Tat zur Seite. Sie können sich bei den Husqvarna Produkten daher auf eine kompromisslose Qualität, Benutzerfreundlichkeit sowie Spitzenleistung verlassen.
 

Garantie

Als unser Kunde genießen Sie auch nach dem Kauf Ihres Husqvarna-Produkts zahlreiche Vorteile! Im Garantiefall sind wir Ihr erster Ansprechpartner und werden Ihnen gerne weiterhelfen. Wir verfügen über eine eigene Hersteller-Werkstatt, sind qualifiziert und berechtigt, im Garantiefall alle nötigen Reparaturen an Ihrem Husqvarna-Gerät durchzuführen.

Das bedeutet für Sie: Sie können sich jederzeit an uns wenden, als Ihr Händler bei dem Sie die Ware gekauft haben sind wir stets die erste Adresse. Selbstverständlich steht es Ihnen jedoch frei, sich an jeden anderen autorisierten Husqvarna-Händler zu wenden.

Gegen Vorlegen Ihres Kaufbeleges (inklusive ausgefüllter Garantiekarte) aus unserem Shop können Sie wohnortnah - in ganz Europa, in der Schweiz und in Großbritannien - Ihr registriertes Produkt zur Garantieüberprüfung vorlegen. Der lokale Husqvarna Servicehändler wird im Garantiefall defekte Teile ausschließlich durch original Husqvarna-Ersatzteile und Zubehör ersetzen. 

 

Husqvarna Händler mit Onlineshop 

Ausschließlich autorisierte, qualifizierte Händler dürfen Husqvarna Produkte verkaufen. So erhalten Sie als Kunde fachgerechte Auskunft zu Ihren Fragen. Wir sind ein autorisierter Husqvarna Fachhändler mit eigener Werkstatt. Vor jeder Auslieferung werden die Geräte entsprechend der Herstellervorgaben geprüft.

 

Stationärer Handel:
Kömpf Baumarkt GmbH
Leibnizstr. 2
75365 Calw

 

Husqvarna Geräte

Husqvarna AB
Regeringsgatan 28
11153 Stockholm
Schweden
verkauf@husqvarna.de
Verantwortliche Person:
Husqvarna Deutschland GmbH
Hans-Lorenser-Strasse 40
89079 Ulm
Deutschland
verkauf@husqvarna.de

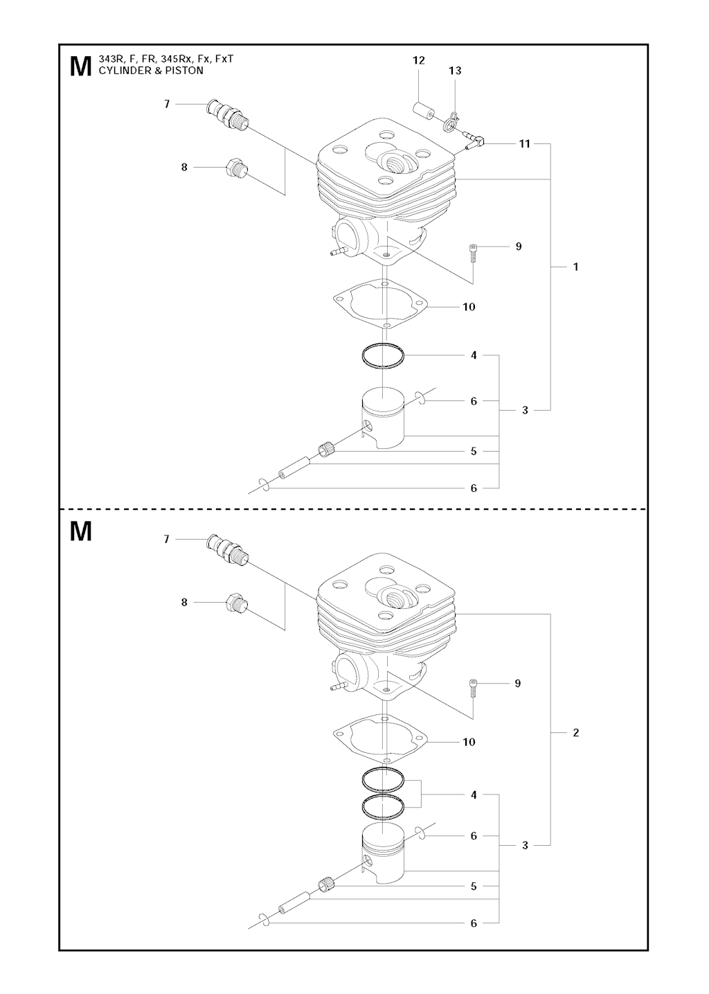
245 von insgesamt 245 eingezeichneten Ersatzteilen in Explosionszeichnung Nr. 1

1
Husqvarna 502 23 52-01 - GETRIEBE KPL.
1x
244,26 €
1
Husqvarna 503 20 02-16 - SCHRAUBE
2x
1,33 €
1
Husqvarna 503 20 02-16 - SCHRAUBE
1x
1,33 €
1
Husqvarna 504 20 98-04 - GASHANDGRIFF KPL.
1x
41,39 €
1
Husqvarna 503 93 66-01 - PRIMER
1x
12,36 €
1
Husqvarna 503 28 31-18 - VERGASER C1Q EL23
1x
72,22 €
1
Husqvarna 574 50 67-02 - Sägeblattschutz
1x
25,01 €
1
Husqvarna 574 53 26-01 - Sägeblattschutz
1x
25,50 €
1
Husqvarna 510 11 88-01 - Griff, kpl.
1x
116,01 €
1
Husqvarna Balance 55 Tragegurt
1x
100,28 €
2
Husqvarna 503 20 02-25 - SCHRAUBE
2x
4,90 €
2
Husqvarna 544 02 94-01 - ABSTANDHUELSE
1x
2,89 €
2
Husqvarna 537 18 07-11 - GRIFFTEIL LINKS
1x
20,48 €
2
Husqvarna 537 17 25-01 - SCHUTZ
1x
8,46 €
2
Husqvarna 502 43 33-01 - KABELSCHUTZ
1x
9,54 €
2
Husqvarna 537 18 49-01 - KLAMMER
1x
3,36 €
2
Husqvarna 738 22 02-19 - KUGELLAGER
1x
6,57 €
2
Husqvarna 503 20 03-02 - SCHRAUBE MC6SF M5-E
3x
4,90 €
2
Husqvarna 724 12 87-59 - SCHRAUBE
1x
4,90 €
2
Husqvarna 503 21 69-16 - SCHRAUBE
1x
4,90 €
2
Husqvarna 537 23 73-01 - ZUENDKERZENSTECKER
1x
7,38 €
2
Husqvarna 503 48 05-01 - SCHRAUBE
2x
4,90 €
2
Husqvarna 501 60 02-03 - SCHRAUBENZIEHER
1x
1,02 €
2
Husqvarna 574 55 54-01 - Klemme
1x
11,78 €
2
Husqvarna 544 90 17-01 - HALTER
1x
26,11 €
2
Husqvarna 503 99 61-01 - BAND
3x
4,90 €
3
Husqvarna 738 21 01-10 - KUGELLAGER
1x
5,81 €
3
Husqvarna 735 31 33-10 - SPERRING
1x
4,90 €
3
Husqvarna 503 22 10-12 - MUTTER
2x
1,19 €
3
Husqvarna 537 16 07-01 - GASSPERRE
1x
5,66 €
3
Husqvarna 544 07 69-02 - TANKDECKEL WINTER *U KV
1x
9,01 €
3
Husqvarna 575 58 02-01 - Zylinderdeckel kpl.
1x
32,58 €
3
Husqvarna 503 95 73-01 - SEILROLLE
1x
9,71 €
3
Husqvarna 503 23 51-09 - ZüNDKERZE RCJ6Y
1x
3,46 €
3
Husqvarna 503 97 43-01 - DECKEL
1x
7,39 €
3
Husqvarna 503 74 29-01 - AUFKLEBER
1x
2,13 €
3
Husqvarna 573 99 43-04 - Schraube Ihscfmo
2x
4,90 €
3
Husqvarna 503 99 61-04 - BAND
1x
5,75 €
3
Husqvarna 537 11 35-01 - HALTER
1x
4,90 €
4
Husqvarna 503 20 02-25 - SCHRAUBE
2x
4,90 €
4
Husqvarna 503 25 08-01 - KUGELLAGER
1x
6,06 €
4
Husqvarna 503 25 08-01 - KUGELLAGER
2x
6,06 €
4
Husqvarna 537 30 98-01 - BEWEGUNGSBEGRENZER
1x
8,03 €
4
Husqvarna 537 17 42-01 - FEDER
1x
2,57 €
4
Husqvarna 503 22 10-13 - MUTTER
1x
4,90 €
4
Husqvarna 537 18 49-01 - KLAMMER
1x
3,36 €
4
Husqvarna 503 20 02-30 - SCHRAUBE
2x
1,70 €
4
Husqvarna 574 47 70-04 - Schraube IHSCFMO
3x
4,90 €
4
Husqvarna 502 20 06-01 - RUECKHOLFEDER
1x
14,55 €
4
Husqvarna 503 20 25-16 - SCHRAUBE
2x
4,90 €
4
Husqvarna 502 21 58-01 - SECHSKANTSCHLUESSEL
1x
0,75 €
4
Husqvarna 503 21 07-16 - SCHRAUBE
1x
4,90 €
4
Husqvarna 504 00 33-01 - ADAPTER
1x
9,01 €
4
Husqvarna 503 99 61-01 - BAND
3x
4,90 €
4
Husqvarna 503 99 61-03 - BAND
1x
3,36 €
5
Husqvarna 503 25 08-01 - KUGELLAGER
2x
6,06 €
5
Husqvarna 503 26 17-01 - DICHTUNG
1x
11,02 €
5
Husqvarna 537 30 97-01 - BAND *U KV
1x
2,39 €
5
Husqvarna 537 29 97-01 - FEDER
2x
20,34 €
5
Husqvarna 503 20 02-20 - SCHRAUBE
4x
1,33 €
5
Husqvarna 506 49 77-01 - GASREGLER
1x
6,94 €
5
Husqvarna 503 94 77-01 - SCHUTZ
1x
13,09 €
5
Husqvarna 503 21 29-06 - SCHRAUBE
2x
4,90 €
5
Husqvarna 505 27 57-19 - DICHTRING
1x
12,65 €
5
Husqvarna 503 55 86-02 - L-SCHLüSSEL
1x
4,90 €
5
Husqvarna 537 21 71-04 - BLATTSCHUTZ
1x
16,12 €
5
Husqvarna 537 15 35-01 - BAND
1x
7,53 €
5
Husqvarna 502 02 28-01 - HAKEN KPL.
1x
9,51 €
6
Husqvarna 503 75 89-01 - DECKEL
1x
4,90 €
6
Husqvarna 544 02 94-01 - ABSTANDHUELSE
1x
2,89 €
6
Husqvarna 537 18 49-01 - KLAMMER
1x
3,36 €
6
Husqvarna 537 18 49-01 - KLAMMER
1x
3,36 €
6
Husqvarna 503 20 20-01 - SCHRAUBE M 5 X 12
1x
4,90 €
6
Husqvarna 503 20 03-02 - SCHRAUBE MC6SF M5-E
1x
4,90 €
6
Husqvarna 537 25 63-01 - GENERATOR
1x
146,91 €
6
Husqvarna 737 44 10-00 - Sicherungsring
2x
4,90 €
6
Husqvarna 537 15 85-01 - KRAGEN
2x
7,58 €
6
Husqvarna 503 53 56-01 - PFROPFEN
1x
3,64 €
6
Husqvarna 544 38 02-01 - STUETZTELLER
1x
9,84 €
6
Husqvarna 503 20 03-16 - SCHRAUBE M5x16
4x
4,90 €
6
Husqvarna 537 28 84-01 - FRONTSTUECK
1x
17,36 €
6
Husqvarna 502 02 30-02 - SPERRE
1x
4,30 €
7
Husqvarna 735 31 33-10 - SPERRING
1x
4,90 €
7
Husqvarna 523 01 88-01 - Lagerwelle
1x
27,00 €
7
Husqvarna 537 19 79-01 - BEFESTIGUNG
1x
8,60 €
7
Husqvarna 504 20 98-04 - GASHANDGRIFF KPL.
1x
41,39 €
7
Husqvarna 537 17 43-01 - FEDER
1x
2,57 €
7
Husqvarna 503 21 66-18 - SCHRAUBE
2x
4,90 €
7
Husqvarna Kraftstofffilter B
1x
7,01 €
7
Husqvarna 544 90 07-01 - KETTENRAD
1x
48,84 €
7
Husqvarna 537 16 61-01 - SCHUTZ
1x
8,95 €
7
Husqvarna 503 54 39-01 - STARTER GRIFF
1x
8,06 €
7
Husqvarna 505 27 57-19 - DICHTRING
1x
12,65 €
7
Husqvarna Spritzschutz PVC bis Ø 300 mm
1x
27,85 €
7
Husqvarna 574 03 95-01 - Sperrwürfel
4x
4,90 €
7
Husqvarna 537 28 83-01 - FRONTSTUECK
1x
7,87 €
7
Husqvarna 586 34 10-01 - Feder
1x
2,57 €
8
Husqvarna 503 95 54-01 - ANTRIEBSWELLE
1x
60,50 €
8
Husqvarna 503 95 54-02 - ANTRIEBSWELLE
1x
60,50 €
8
Husqvarna 503 92 44-02 - ACHSE
1x
53,54 €
8
Husqvarna 502 19 71-01 - MUTTER
1x
3,76 €
8
Husqvarna 537 16 07-01 - GASSPERRE
1x
5,66 €
8
Husqvarna 503 21 66-18 - SCHRAUBE
2x
4,90 €
8
Husqvarna 503 23 00-11 - SCHEIBE
2x
4,90 €
8
Husqvarna 503 20 03-02 - SCHRAUBE MC6SF M5-E
2x
4,90 €
8
Husqvarna 503 20 03-02 - SCHRAUBE MC6SF M5-E
1x
4,90 €
8
Husqvarna 503 28 31-18 - VERGASER C1Q EL23
1x
72,22 €
8
Husqvarna 505 30 51-25 - Starterseil
1x
4,82 €
8
Husqvarna 503 95 33-01 - SCHWUNGRAD
1x
40,56 €
8
Husqvarna 503 55 22-01 - PFROPFEN
1x
7,54 €
8
Husqvarna 503 48 01-01 - SCHRAUBE
1x
4,90 €
8
Husqvarna 544 35 91-01 - Transportschutz
1x
7,43 €
8
Husqvarna 537 33 15-01 - SCHNALLE
1x
6,70 €
8
Husqvarna 502 02 29-02 - HAKEN
1x
12,16 €
9
Husqvarna 503 20 02-16 - SCHRAUBE
2x
1,33 €
9
Husqvarna 503 85 73-02 - PFROPFEN
1x
4,53 €
9
Husqvarna 537 18 07-11 - GRIFFTEIL LINKS
1x
20,48 €
9
Husqvarna 537 18 08-11 - GRIFFHAELFTE RECHTS
1x
21,04 €
9
Husqvarna 503 20 03-02 - SCHRAUBE MC6SF M5-E
4x
4,90 €
9
Husqvarna 537 35 68-01 - AUFKLEBER 343F
1x
2,17 €
9
Husqvarna 503 73 58-01 - BUSHING
1x
4,88 €
9
Husqvarna 503 48 00-01 - STIFT
1x
3,34 €
9
Husqvarna 501 69 17-01 - Kombischlüssel
1x
4,62 €
9
Husqvarna 537 31 29-01 - SCHUTZ
1x
7,43 €
9
Husqvarna 537 18 95-01 - SCHRAUBE
1x
2,98 €
9
Husqvarna 537 11 35-01 - HALTER
1x
4,90 €
9
Husqvarna 735 31 09-20 - FEDERRING
1x
0,52 €
10
Husqvarna 503 94 93-01 - TANK
1x
67,45 €
10
Husqvarna 537 35 68-02 - AUFKLEBER 345F X-SERIES
1x
4,90 €
10
Husqvarna 575 58 10-01 - STARTER KPL.
1x
73,41 €
10
Husqvarna 503 81 24-01 - MITNEHMER
2x
5,00 €
10
Husqvarna 503 66 59-01 - HEBEL
1x
4,06 €
10
Husqvarna Winkelgetriebefett Eco
1x
11,27 €
10
Husqvarna 537 23 03-01 - PLATTE
1x
7,62 €
10
Husqvarna 544 96 07-02 - SICHERUNGSHAKEN
1x
13,90 €
10
Husqvarna 537 17 54-01 - NIETE
3x
4,90 €
11
Husqvarna 502 29 11-01 - Mutter
1x
4,53 €
11
Husqvarna 503 22 10-12 - MUTTER
2x
1,19 €
11
Husqvarna 537 17 42-01 - FEDER
1x
2,57 €
11
Husqvarna 503 22 10-13 - MUTTER
1x
4,90 €
11
Husqvarna 537 35 68-03 - AUFKLEBER
1x
2,19 €
11
Husqvarna 575 58 05-01 - Startvorrichtungsgehäuse
1x
30,48 €
11
Husqvarna 503 23 00-42 - SCHEIBE
2x
4,90 €
11
Husqvarna 503 47 97-01 - NADELVENTIL
1x
10,45 €
11
Husqvarna 537 39 63-05 - SCHUTZLEISTE
1x
25,04 €
11
Husqvarna 732 21 16-01 - LOCK NUT
1x
1,19 €
11
Husqvarna 502 02 29-02 - HAKEN
1x
12,16 €
11
Husqvarna 537 27 59-01 - SCHUTZ
1x
30,52 €
12
Husqvarna 503 20 15-01 - PFROPFEN
1x
4,45 €
12
Husqvarna 506 49 77-01 - GASREGLER
1x
6,94 €
12
Husqvarna 537 41 90-01 - STOPPSCHALTER
1x
14,10 €
12
Husqvarna 537 21 99-01 - HALTER
1x
4,52 €
12
Husqvarna 537 35 68-04 - AUFKLEBER
1x
2,17 €
12
Husqvarna 574 47 70-03 - Schraube IHSCFMO
4x
1,52 €
12
Husqvarna 501 81 99-03 - SCHRAUBE
2x
2,44 €
12
Husqvarna 537 02 03-01 - FEDER *U KV
1x
2,29 €
12
Husqvarna 503 21 07-16 - SCHRAUBE
1x
4,90 €
12
Husqvarna 503 95 43-02 - SCHUTZ
1x
25,50 €
12
Husqvarna 537 28 84-01 - FRONTSTUECK
1x
17,36 €
12
Husqvarna 502 02 30-02 - SPERRE
1x
4,30 €
13
Husqvarna 738 21 87-12 - KUGELLAGER
2x
5,76 €
13
Husqvarna 502 19 71-01 - MUTTER
1x
3,76 €
13
Husqvarna 537 17 43-01 - FEDER
1x
2,57 €
13
Husqvarna 537 17 28-03 - GRIFF
1x
11,82 €
13
Husqvarna 537 35 68-05 - AUFKLEBER
1x
2,17 €
13
Husqvarna 503 20 03-20 - SCHRAUBE
1x
4,90 €
13
Husqvarna 503 21 69-16 - SCHRAUBE
1x
4,90 €
13
Husqvarna 503 22 04-01 - MUTTER
1x
1,88 €
13
Husqvarna 503 47 90-01 - SCHRAUBE
1x
0,89 €
13
Husqvarna 537 23 84-01 - WINTERSATZ
1x
35,19 €
13
Husqvarna 503 74 29-01 - AUFKLEBER
1x
2,13 €
13
Husqvarna 537 28 83-01 - FRONTSTUECK
1x
7,87 €
13
Husqvarna 586 34 10-01 - Feder
1x
2,57 €
14
Husqvarna 735 31 17-00 - SICHERUNGSRING
1x
4,90 €
14
Husqvarna 503 85 73-02 - PFROPFEN
1x
4,53 €
14
Husqvarna 503 21 66-18 - SCHRAUBE
2x
4,90 €
14
Husqvarna 731 23 14-05 - MUTTER
1x
4,90 €
14
Husqvarna 510 20 87-01 - VIBRATIONSISOLATOR
2x
8,54 €
14
Husqvarna 537 35 68-07 - AUFKLEBER
1x
2,17 €
14
Husqvarna 503 95 73-01 - SEILROLLE
1x
9,71 €
14
Husqvarna 537 17 87-01 - SCHUTZ
1x
21,61 €
14
Husqvarna 503 21 07-16 - SCHRAUBE
1x
4,90 €
14
Husqvarna 537 38 72-01 - CLIP
4x
0,93 €
14
Husqvarna 735 31 09-20 - FEDERRING
1x
0,52 €
15
Husqvarna 735 31 31-10 - FEDERRING
1x
4,90 €
15
Husqvarna 537 18 08-11 - GRIFFHAELFTE RECHTS
1x
21,04 €
15
Husqvarna 537 17 29-02 - BEFESTIGUNG
1x
4,75 €
15
Husqvarna 502 20 06-01 - RUECKHOLFEDER
1x
14,55 €
15
Husqvarna 503 20 03-16 - SCHRAUBE M5x16
1x
4,90 €
15
Husqvarna 537 28 53-01 - MESSER
1x
9,37 €
16
Husqvarna 503 20 02-20 - SCHRAUBE
1x
1,33 €
16
Husqvarna 503 20 02-45 - SCHRAUBE
1x
2,14 €
16
Husqvarna 503 21 66-16 - SCHRAUBE *U KV
1x
1,67 €
16
Husqvarna 503 21 29-06 - SCHRAUBE
2x
4,90 €
16
Husqvarna 503 21 70-10 - SCHRAUBE
3x
0,96 €
16
Husqvarna 574 03 95-01 - Sperrwürfel
1x
4,90 €
16
Husqvarna Klingenschutz
1x
41,30 €
17
Husqvarna 502 29 11-01 - Mutter
1x
4,53 €
17
Husqvarna 515 97 98-01 - AUFHAENGUNG
1x
34,47 €
17
Husqvarna 503 54 39-01 - STARTER GRIFF
1x
8,06 €
17
Husqvarna 537 18 95-01 - SCHRAUBE
1x
2,98 €
18
Husqvarna 583 97 24-01 - Befestigungsblech
1x
8,35 €
18
Husqvarna 577 22 47-01 - Verschleissschutz
1x
30,39 €
18
Husqvarna 502 20 38-01 - GRIFF
1x
5,26 €
18
Husqvarna 505 30 51-25 - Starterseil
1x
4,82 €
18
Husqvarna 537 23 03-01 - PLATTE
1x
7,62 €
19
Husqvarna 502 23 51-01 - Getriebegehäuse
1x
88,45 €
19
Husqvarna 576 63 00-01 - Verschleissschutz
1x
21,13 €
19
Husqvarna 537 12 90-01 - HANDGRIFFHALTER
1x
13,29 €
19
Husqvarna 537 35 59-01 - AUFKLEBER
1x
2,67 €
19
Husqvarna 537 02 11-01 - SCHEIBE
1x
6,14 €
19
Husqvarna 732 21 16-01 - LOCK NUT
1x
1,19 €
20
Husqvarna 537 29 07-01 - Ersatzteilsatz
1x
90,29 €
20
Husqvarna 502 28 21-01 - SCHEIBE
1x
4,90 €
20
Husqvarna 537 35 59-02 - AUFKLEBER
1x
2,68 €
20
Husqvarna 503 48 18-01 - SCHRAUBE
1x
4,90 €
20
Husqvarna Spritzschutz PVC bis Ø 300 mm
1x
27,85 €
21
Husqvarna 503 20 02-25 - SCHRAUBE
2x
4,90 €
21
Husqvarna 502 43 36-01 - LENKERKLEMMUNG
1x
24,93 €
21
Husqvarna 537 35 59-03 - AUFKLEBER
1x
2,68 €
22
Husqvarna 502 43 35-01 - Halter
1x
12,30 €
22
Husqvarna 505 43 33-03 - STYRE
1x
38,57 €
22
Husqvarna 537 35 59-04 - AUFKLEBER
1x
2,67 €
22
Husqvarna 537 01 26-01 - FEDER
1x
2,27 €
23
Husqvarna 537 35 59-05 - AUFKLEBER
1x
2,70 €
23
Husqvarna 537 01 25-01 - KUGEL
1x
2,76 €
24
Husqvarna 503 95 81-01 - FILTERHALTER
1x
14,88 €
24
Husqvarna 537 35 59-14 - AUFKLEBER
1x
2,67 €
24
Husqvarna 503 53 57-01 - SIEB
1x
3,72 €
25
Husqvarna 503 21 66-16 - SCHRAUBE *U KV
1x
1,67 €
25
Husqvarna 731 71 14-51 - MUTTER M5 ISO 4161
1x
1,33 €
26
Husqvarna 731 23 14-05 - MUTTER
1x
4,90 €
26
Husqvarna 537 02 00-01 - PUMPENTEIL
1x
11,88 €
27
Husqvarna 537 02 01-01 - DICHTUNG
1x
3,63 €
28
Husqvarna 537 02 02-01 - ABDECKUNG
1x
21,04 €
29
Husqvarna 537 21 32-12 - DREHKNOPF LUFTFILTERDECKEL
1x
4,63 €
29
Husqvarna 503 47 96-01 - SCHRAUBE
1x
4,90 €
30
Husqvarna 537 02 07-01 - LEERLAUFSTELLSCHRAUBE
1x
4,90 €
31
Husqvarna 503 48 11-01 - PFROPFEN
1x
5,22 €
32
Husqvarna Luftfilter Schaum D
1x
7,75 €
33
Husqvarna 503 20 03-20 - SCHRAUBE
1x
4,90 €
34
Husqvarna 503 47 92-01 - SCHRAUBE
1x
4,90 €
36
Husqvarna 537 22 96-03 - DICHTUNG
1x
4,34 €
43
Husqvarna 537 38 70-01 - SCHRAUBE
1x
4,90 €
44
Husqvarna 537 38 69-01 - FAULENZER SCHRAUBE
1x
4,90 €

Produktbewertungen unserer Kunden
Unsere Bewertungen sind zu 100% echt.
Bewertungen von Kunden, die ihre Ware nicht bei uns gekauft haben, werden entsprechend gekennzeichnet.
Bewertungen mit diesem Symbol stammen von verifizierten Käufern!
Zu diesem Produkt gibt es noch keine Kundenbewertungen.
Sie können die erste Person sein, die zu diesem Produkt eine Bewertung schreibt.